?
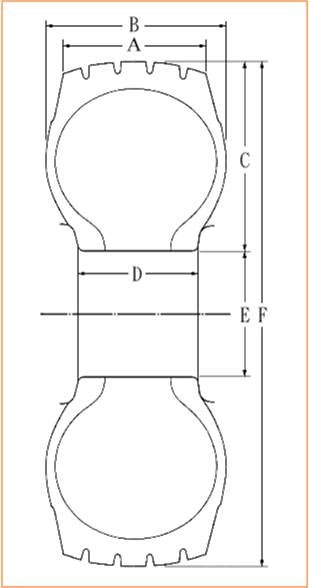
1、轮胎参数的寄义:

A:胎面宽度
B:轮胎断宽
C:轮胎断高
D:轮圈宽度
E:轮圈外径
F:轮胎外径
G:扁平比:轮胎断高/轮胎断宽
2、胎边文字标示

其他常见的规格标识要领:
a.11.00 R 20 16PR
A B C D
A:轮胎最大宽度 (英吋) B:轮胎结构 (RADIAL) C:轮胎内径 D:层级
b.11 R 22.5 16PR
A B C D
A:轮胎最大宽度 (英吋) B:轮胎结构 (RADIAL) C:轮胎内径 D:层级
*与a唯一差别的是此种标识要领代表轮胎为免内胎轮胎。。。。。。。。
3、轮胎花纹标识之花纹模具号

*差别的花纹形式对使用爆发很大的影响,,,,,,,,因此在选择轮胎的时间合适的花纹也是至关主要的。。。。。。。。
4、轮胎花纹标识之DOT号

5、轮胎花纹标识之轮胎能力标识

152/148 : 单轮、复轮切合指数
M: 速率指数
16PR:层级
TUBRELESS : 免内胎
6、轮胎花纹标识之其他标识

使用本站前需要您仔细阅读并赞成yl23455永利隐私权保;;;;ど。。。。。。。。
By using our site, you acknowledge that you have read and understand our Privacy Policy.